The AM Forum
November 18, 2025, 05:47:20 AM *
Welcome, Guest. Please login or register.

Login with username, password and session length
 
   Home   Help Calendar Links Staff List Gallery Login Register  
Pages: [1] 2   Go Down
  Print  
Author Topic: Design Review  (Read 25183 times)
0 Members and 1 Guest are viewing this topic.
Ed/KB1HYS
Contributing
Member
*
Offline Offline

Posts: 1848



« on: June 10, 2008, 01:25:13 PM »

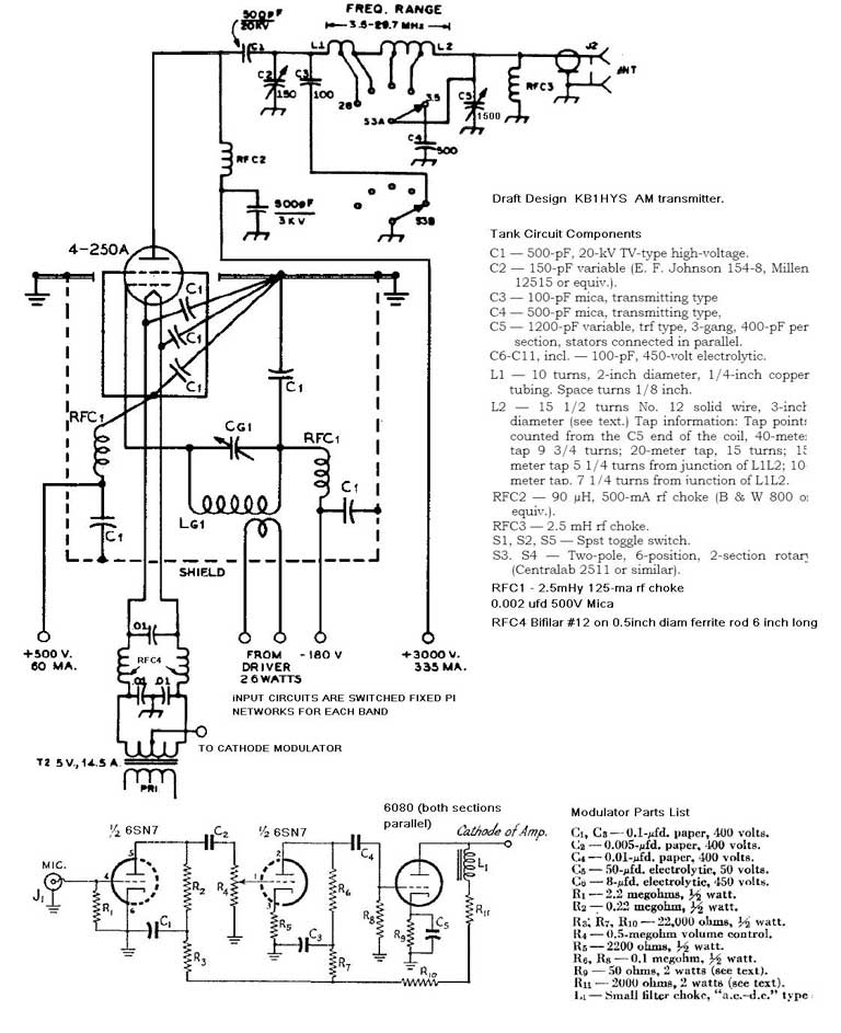
Ok, here's a schematic for a rig that I thought up, based on a lot of reading/research etc.  Low parts count and reasonable output were the goals, not to mention this is a reflection of what I have in my junque box.

It's a cathode modulated 4-250, multi-band rig.  I know it will not be very efficient, or generate 120% positive peaks etc.  The goal is build something using mostly parts on hand and low cost. (I hope)

So if some of you folks wouldn't mind looking over the proposed rig, and leaving comments, suggestions that would be great.


* Da 4-250 Maul.JPG (239.01 KB, 1122x1377 - viewed 862 times.)
Logged

73 de Ed/KB1HYS
Happiness is Hot Tubes, Cold 807's, and warm room filling AM Sound.
 "I've spent three quarters of my life trying to figure out how to do a $50 job for $.50, the rest I spent trying to come up with the $0.50" - D. Gingery
steve_qix
Contributing
Member
*
Offline Offline

Posts: 2602


Bap!


WWW
« Reply #1 on: June 10, 2008, 02:38:11 PM »

I didn't study the schematic in great detail, but in general it looks good.

Hey, question:  why bother with cathode modulation (which is really grid modulation) - why not just do "real" grid modulation (of the screen, in this case).  Certainly, this will make the RF implementation simpler, and you will eliminate the choke at the cathode modulator completely.

Your screen grid modulator will certainly be capable of whatever positive modulation you wish, and *could*
be direct coupled  Cool  In any case, properly done it will sound fantastic, and be simple to do - probably simpler than the cathode modulator, although I haven't thought it out all the way.

Anyway, just a thought!!

Regards,

Steve
Logged

High Power, Broadcast Audio and Low Cost?  Check out the class E web site at: http://www.classeradio.org
AB2EZ
Member

Offline Offline

Posts: 1712


"Season's Greetings" looks okay to me...


« Reply #2 on: June 10, 2008, 04:54:03 PM »

Ed

Just a few quick comments

1. From your schematic, you have a fixed bias on the grid with respect to ground. You need to have a fixed bias between the grid and the cathode. Since you are modulating the cathode, you will need to change your grid biasing method. There are a number of ways to do this. One approach would be to use the average grid current ("self biasing") flowing through a resistor placed between the grid and the cathode.

2. From your schematic, you have a fixed bias voltage on the screen. This means that you will be modulating both the plate and the screen with the same voltage swing (i.e., when the cathode is modulated, the screen to cathode voltage will change by the same amount as the plate to cathode voltage). It would be better (improved linearity and/or improved efficiency) to cause the modulation of the screen-to-cathode voltage to be around 20% of the modulation of the plate-to-cathode voltage (e.g. assuming 2500 volts of plate-to-cathode voltage and 500 volts of screen-to-cathode voltage at carrier, and a B+ of 5000 volts). There are a number of ways to do this. For example, you could eliminate the fixed biasing of the screen... and, instead, tie the screen to the plate with a resistor whose value produces the desired screen-to-cathode voltage (at carrier) at the anticipated screen current (at carrier).

If you leave things as they are shown in the schematic... then you will be operating much closer to pure screen modulation (implemented via modulation of the cathode voltage with respect to ground) than to plate modulation (implemented via modulation of the cathode voltage with respect to ground). Also, your fixed screen-to-ground voltage, as shown, is probably too low to produce the desired screen-to-cathode voltage (and the associated plate current) at carrier. I.e., at carrier, the screen-to-cathode voltage of the 4-250 will need to be closer to 400 volts; but assuming the cathode is at half of the fixed screen-to-ground bias voltage at carrier, the screen-to-cathode voltage at carrier will only be 250 volts.

[For a tetrode, it is the screen-to-cathode voltage that controls the plate current, even if the plate-to-cathode voltage is modulated.]

Note: Screen modulation (as implemented by modulating the cathode voltage) is much less efficient than plate modulation  (as implemented by modulating the cathode voltage). As a result, your output power will be less, and your plate dissipation will be higher... because you will not be able to load the tube as heavily at carrier. You will not be able to run the 4-250 with more than 375 watts of plate power input (e.g. 2500 volts plate-to-cathode x 150mA of plate current), at carrier, with the (essentially) screen modulated approach implied by your schematic, because the efficiency of operation, at carrier, will be around 33% (maybe as much as 40%). At carrier, your rf power output will only be 375 watts x 33% = 125 watts.

3. Your cathode modulator will have to deliver ~150 mA of modulated current ... assuming that you retain the (essentially) screen modulated design.

Does the modulator tube you selected have enough transconductance for the cathode resistor-based negative feedback to be effective with a 50 ohm cathode resistor. I.e., is the transconductance greater than 100,000 umhos? [my rule of thumb: transconductance x cathode resistor value > 5 for a good linearity as a result of the use of cathode resistor-based negative feedback]. The specification sheets I can access on line indicate that a 6080, with both halves in parallel will have only 13,000 umhos of transconductance. You will probably need to increase the value of the cathode resistor to around 250 ohms, and an associated higher wattage level.

50 ohms x 150 mA = 7.5 volts. To get the modulation you need (even for pure screen modulation) you will need ~ 400 volts of swing on the cathode voltage of the 4-250... corresponding to ~400 volts of swing on the plate of the modulator output tube. Thus the modulator output stage must produce a voltage gain (plate voltage swing vs. cathode voltage swing) of 53.  In other words, the impedance looking into the cathode of the 4-250, for the mostly-screen modulated design you have shown, is ~400 volts/150mA ~ 2650 ohms. I don't think the 6080-based modulator output stage can deliver that much voltage gain because its plate resistance will be much too low.


Best regards
Stu
Logged

Stewart ("Stu") Personick. Pictured: (from The New Yorker) "Season's Greetings" looks OK to me. Let's run it by the legal department
Steve - WB3HUZ
Guest
« Reply #3 on: June 11, 2008, 10:46:51 AM »

Here's a nice approach to direct coupled screen modulation.

http://www.amwindow.org/tech/htm/ne1stx.htm


Logged
steve_qix
Contributing
Member
*
Offline Offline

Posts: 2602


Bap!


WWW
« Reply #4 on: June 11, 2008, 07:46:04 PM »

I've designed and built a number of screen modulators over the past 35 years.

The absolute best, hands down approach is to use a cathode or source follower.  The screen typically has a non-linear voltage V/S current curve, so anything with internal resistance (or resistance itself) will not provide a linear voltage response.

If you want to be "pure tube", a cathode follower (possibly with an independent transformer for the heaters so they can float too) preceeded by a straight voltage amplifier (with the grid of the follower tied directly to the plate of the voltage amplifier) might fill the bill very well.

If you can use a MOSFET as a source follower, there are various devices which should handle the job very nicely.  The source follower opens up the doors for other implementations beyond the straight voltage amplifier followed by the source follower, however, that approach is still valid.

Either way, if done properly, it will sound "just like a broadcast station" (assuming all other components - microphone, processing, etc) are up to the task  Wink

Regards,

Steve
Logged

High Power, Broadcast Audio and Low Cost?  Check out the class E web site at: http://www.classeradio.org
Ed/KB1HYS
Contributing
Member
*
Offline Offline

Posts: 1848



« Reply #5 on: June 11, 2008, 10:39:45 PM »

Thanks Guys.  I went back and read through Bill Orrs Handbook, which has an excellent section on modulation. The last paragraph in the section for cathode modulation says "Not recommended for tetrodes..." of course.  Roll Eyes
Orrs book does highly recommend the cathode follower approach for screen modulation too.  The low impedance of the cathode follower being key.  So looks like a change to screen grid modulation will be in order.  I'd like to keep it direct coupled, as I don't have transformers hanging around to use. I do have a variety of tubes, hopefully the right ones for the job.

I originally didn't go with the grid mod schemes because that reference said that they were more prone to distortion, but it looks like cathode mod wont be reasonably workable with a 4-250.

I'll work up a new (hopefully better) schematic and post it.
Logged

73 de Ed/KB1HYS
Happiness is Hot Tubes, Cold 807's, and warm room filling AM Sound.
 "I've spent three quarters of my life trying to figure out how to do a $50 job for $.50, the rest I spent trying to come up with the $0.50" - D. Gingery
Ralph W3GL
Contributing
Member
*
Offline Offline

Posts: 748



« Reply #6 on: June 11, 2008, 11:42:26 PM »

Stupid question having nothing to due with modulating the tube...

What's with all that BIFILAR crap at the filament transformer?

This is a GRID driven amplifier, not a grounded grid where you use that circuitry between the filament and transformer...

Back in the day, the bypasses on the transformer is all we used...
Logged

73,  Ralph  W3GL 

"Just because the microphone in front of you amplifies your voice around the world is no reason to think we have any more wisdom than we had when our voices could reach from one end of the bar to the other"     Ed Morrow
Opcom
Patrick J. / KD5OEI
Contributing
Member
*
Offline Offline

Posts: 8376



WWW
« Reply #7 on: June 11, 2008, 11:51:32 PM »

as mentioned what you have there is a combination of modulations including the modulation of grid bias.
There's grid bias-vs- drive, and then cathode-to-gnd voltage via the modulator tube, and then cathode-to-screen voltage. All these are separate things.

If you want to keep what you have for the most part, you can float the bias and screen supplies' negative ends and return them along with the cathode to the modulator plate, then you will more likely keep audio off the grid-to-cathode section and will keep good screen regulation. A variable DC control can be used to set carrier at the modulator tube's grid.



Logged

Radio Candelstein
N3DRB The Derb
Guest
« Reply #8 on: June 12, 2008, 02:44:06 PM »

the tube for cathode modulation is a lower Mu Triode. a pair of 304 TL if you can find good ones, would make a hell of a final,  but you burn down da house with the filament juice required. You should just straight up screen modulate that bad boy you got there.

Used to have frank Jone's cathode modulation handbook with about 50 shiz matics using very popular tube out there in the late 30's.
Not sure if I still have it.

Logged
Ed/KB1HYS
Contributing
Member
*
Offline Offline

Posts: 1848



« Reply #9 on: June 12, 2008, 03:33:38 PM »

Yea, found out later that tetrodes and cathode mod don't mix, ah well. There's only one way to learn...

So Heres Rev A.  --
I've changed it to a direct coupled screen-grid modulated rig. The screen-grid gets driven from the cathode of the mod tube which will probably be a 6146, unless someone has a better suggestion (and I happen to have that tube in stock). 

I dropped the plate to 2400 volts.

The screen voltage is developed by a resistive divider on the plate circuit, which will probably be made from the bleeder resistor(s) in the plate circuit. This might change to a simple dropping resistor depending on how assembling the power supply goes (cap vs choke input).

I got rid of the filament choke as the plan to do double duty here got dropped in favor of the KISS principle.  The new plan is a simple rig that puts out a reasonable amount of power, and teaches me as I go.  I can always add complexity later.

The bias voltages on the screen and control grids are not right on the schematic, I'll have to work them out later when I get home.

There is a 50 volt bias shown on the cathode of the modulation tube which I assume will have to be adjusted to set the unmodulated carrier level??

Input power 700 watts, which at 35% unmodulated carrier efficiency puts the dissipation at 245 watts, right??  so the tube should live happy,
I got the modulation circuit out of the Radio handbook by Orr.  I also did some reading (again) and this looks like it could be a winner.  The book says that this circuit can go up to 70-80% efficiency on the peaks.

Finally a big Thank You to those who are reading and posting here.  I'm learning and appreciate the time you take to help out.


* Da 4-250 Maul rev A.JPG (304.64 KB, 1113x1425 - viewed 808 times.)
Logged

73 de Ed/KB1HYS
Happiness is Hot Tubes, Cold 807's, and warm room filling AM Sound.
 "I've spent three quarters of my life trying to figure out how to do a $50 job for $.50, the rest I spent trying to come up with the $0.50" - D. Gingery
N3DRB The Derb
Guest
« Reply #10 on: June 12, 2008, 04:28:25 PM »

go choke input on teh supply, if you got one and you're going to use one supply only.

confer with master screen modulation masta with the ghetto blasta, slab bacon.
Logged
AB2EZ
Member

Offline Offline

Posts: 1712


"Season's Greetings" looks okay to me...


« Reply #11 on: June 12, 2008, 05:02:28 PM »

Ed

Yes... as we all have found out from experience... you only really learn how this stuff works when you try to design it (or modify it) yourself.

A few comments on design 2.0:

A. The plate dissipation at carrier, for a screen modulated rig, will be around 60-70% of the input power (the remaining 40-30% will be RF power). So, you will need to lower the input power still further.

In a screen modulated rig which is loaded properly... the plate current will double and the efficiency will double on 100% modulation peaks. Therefore the RF output on 100% modulation peaks will be 2 x 2 x the RF output at carrier; while the plate dissipation on 100% modulation peaks will be about the same as it is at carrier.

Example 1 (RF tube running in ~ Class B):

Power input at carrier = 375 watts (2400 volts x 0.15625 amps)
Efficiency at carrier = 33%
RF power output at carrier = 33% x 375 watts ~ 125 watts
Plate dissipation at carrier =  67% x 375 watts ~ 250 watts

Power input at 100 modulation power level = 750 watts (2400 volts x 0.3125 amps)
Efficiency at 100% modulation power level = 66%
RF output at 100% modulation power level = 66% x 750 watts ~ 500 watts
Plate dissipation at 100% modulation power level = 34% x 750 watts ~ 250 watts

Example 2 (RF tube running in Class C):

Power input at carrier = 400 watts (2400 volts x 0.167 amps)
Efficiency at carrier = 40%
RF power output at carrier = 40% x 400 watts ~ 160 watts
Plate dissipation at carrier =  60% x 400 watts ~ 240 watts

Power input at 100 modulation power level = 800 watts (2400 volts x 0.333 amps)
Efficiency at 100% modulation power level = 80%
RF output at 100% modulation power level = 80% x 800 watts ~ 640 watts
Plate dissipation at 100% modulation power level = 20% x 800 watts ~ 160 watts

B. Using a resistive divider to drop the plate voltage from 2400 volts to 400 volts is certainly reminiscent of things that the Heath (DX-20) and Johnson (Ranger relay and bias supply retrofit) engineers were sometimes inclined to do... but perhaps a separate supply would be a better approach. There is a "typo" on your schematic where the voltage divider should be: larger resistor from B+ to center, and smaller resistor from center to ground.

C.  In principle, you can use a large cathode resistor in the cathode follower, as shown in your schematic; and let the screen of the 4-250 be the main cathode load on the cathode follower. I would be inclined to use a real resistor in the cathode of the cathode follower... whose value is comparable to the resistance looking into the screen of the 4-250. Either approach would probably work just fine.

For example, if the screen voltage on the 4-250 at carrier is 250 volts and the screen current of the 4-250 at carrier is 15 mA... then the value for the cathode follower's cathode resistor that I would select would be 250 / 0.015 ohms = 16,666 ohms (or less). [In my comments below, I will assume that you use 15,000 ohms]

The cathode follower will have to deliver a peak output of ~ 2 x the 4-250 screen voltage at carrier ~ 2 x 250 volts = 500 volts. So the plate voltage on the cathode follower tube will have to be greater than 500 volts (preferably something like 750 volts in this application).

The cathode follower tube should have a transconductance of at least: 5 / [value of the real cathode resistor in parallel with the resistance looking into the screen of the 4-250]. If the real cathode resistor is set at 15,000 ohms and the impedance looking into the screen of the 4-250 is around 16,666 ohms, at carrier, then the parallel combination is around 7500 ohms.

Thus the tube must have a transconductance of at least 666 umhos. A 6146 would do just fine (actually overkill)... but make sure there is a resistor between the screen of the 6146 and the plate of the 6146 ... so that the screen current of the 6146 doesn't exceed the tube's screen dissipation rating. At carrier, the plate current in the cathode follower will be ~250 volts/7500 ohms ~ 33 mA. The peak plate current in the cathode follower will be about 66 mA. The audio output power of the cathode follower will be ~ 250 volts x 33 mA / 2 = 4.125 watts. The plate dissipation of the cathode follower tube will be 500 volts (plate voltage - cathode voltage at carrier) x 33 ma = 16.5 watts. The dissipation in the physical cathode resistor (not including the audio power dissipated in this resistor) + the 4-250 screen dissipation (not including the audio power dissipated in the screen) will be: 250 volts x 33 mA = 8.25 watts. Thus the efficiency of the cathode follower will be 16.7%.

Best regards
Stu
Logged

Stewart ("Stu") Personick. Pictured: (from The New Yorker) "Season's Greetings" looks OK to me. Let's run it by the legal department
Ed/KB1HYS
Contributing
Member
*
Offline Offline

Posts: 1848



« Reply #12 on: June 12, 2008, 10:41:51 PM »

Excellent information Stu. Yea I figured the plate Diss wrong...  I guess will have to plan on having 500 watts input (max) like the data sheet recomends for a plate modulated rig.  2500v at 0.2 amps.

The screen volts & current at 2500v are 400 and 0.03 for a 14666 ohm resistor. I figure 15k should be close enough.

So at 400 volts on the screen at carrier, I'll need an 800 volt supply for the mod tube.

I'll be printing this thread and saving for reference.

With any good luck what so ever, I will be able to start cutting metal this weekend!!
Logged

73 de Ed/KB1HYS
Happiness is Hot Tubes, Cold 807's, and warm room filling AM Sound.
 "I've spent three quarters of my life trying to figure out how to do a $50 job for $.50, the rest I spent trying to come up with the $0.50" - D. Gingery
steve_qix
Contributing
Member
*
Offline Offline

Posts: 2602


Bap!


WWW
« Reply #13 on: June 12, 2008, 11:06:29 PM »

Hi !

I found some possible bugs in the schematic - thought you'd like to know  Wink

I definitely would NOT supply the screen modulator tube plate voltage through a dropping resistor.  Since the screen will draw more current at higher voltages (and not linearly), you have a potential negative carrier shift problem if the plate voltage of the modulator drops under modulation.  It is a cathode follower, and maybe it won't be a problem, but it should be kept in mind.

I notice there is no grid resistor or operating point setting circuitry for the modulator tube.  Currently, as drawn, the circuit won't work (but, I suspect you knew that already).  The grid voltage of the modulator tube will set the screen voltage, so this is your screen adjustment.  A "perfect" follower (cathode follower in this case) will be where the cathode follows the grid no matter what.  So, set up a pot so you can vary the DC screen voltage from about 0 to some positive voltage.  That will set the operating point and give you a nice screen voltage adjustment.

Suggestion: put a diode, with the anode connected to some positive power supply voltage (preferably adjustable) which is suitably bypassed with a big capacitor, connected between this variable supply and the screen (cathode goes to the screen).  This will establish a negative peak limiter - DC coupled !  Nice feature, and easy to get with screen modulation.

Good stuff !

Regards,

Steve
Logged

High Power, Broadcast Audio and Low Cost?  Check out the class E web site at: http://www.classeradio.org
w4bfs
W4 Beans For Supper
Contributing
Member
*
Offline Offline

Posts: 1434


more inpoot often yields more outpoot


« Reply #14 on: June 13, 2008, 08:33:24 AM »

great discussion ... just a note, you might want to include neutrz'n .... possible to not require it, depending on shielding, just make sure the caps can be retro'd if necessary ... 73.. John
Logged

Beefus

O would some power the gift give us
to see ourselves as others see us.
It would from many blunders free us.         Robert Burns
The Slab Bacon
Member

Offline Offline

Posts: 3929



« Reply #15 on: June 13, 2008, 08:42:42 AM »

Ed,
     FWIW I have penned down a pretty simple design for a high powered screen modulated transmitter. It is the circuit that I designed for my now famous
(or maybe imfamous) screen modulated 4-1000 transmitter. It could be easily changed to a pair 4-400s and pretty much work the same. The design is pretty simple but effective and fairly easy to build. I cant post it now because it is saved in my computer at home. I will try to post it here over the weekend.

It loafs along at "legal limit" power levels, and is friendly and forgiving of operator error. I have been running it now for 8 years and the only problem I have had with it was a 60 year old plate transformer crapout.

                                                                The Slab Bacon
Logged

"No is not an answer and failure is not an option!"
w8khk
Member

Offline Offline

Posts: 1244


This ham got his ticket the old fashioned way.


WWW
« Reply #16 on: June 13, 2008, 09:44:59 AM »

Hello Bacon,

I have been following this thread with great interest.  I have also searched on AMfone and the AM Window for practical examples of high-power screen modulated AM transmitters, but have not found any.  Just some examples in the PW arena.

I have been thinking about building a rig with a pair of screen modulated 4-400s, so your offer to post your schematic this weekend was a welcome surprise!  Thanks!

BTW, rather than use a rice box for an exciter, I have been working on conversion of a heath LMO for direct use on 75 meter AM.  I picked up an SB-400 parts unit at the Marietta hamfest for $20, almost complete.  The LMO was functional, stock it tunes from 5.0 to 5.5 MHz.  I successfully modified it to tune from 3.6 to 4.0 MHz, in two ranges, using the existing coil, with very simple changes.  If anyone is interested in doing the same, I will be happy to post the info.

73,
Rick
Logged

Rick / W8KHK  ex WB2HKX, WB4GNR
"Both politicians and diapers need to be changed often and for the same reason.”   Ronald Reagan

My smart?phone voicetext screws up homophones, but they are crystal clear from my 75 meter plate-modulated AM transmitter
steve_qix
Contributing
Member
*
Offline Offline

Posts: 2602


Bap!


WWW
« Reply #17 on: June 13, 2008, 10:35:06 AM »

Here is a conceptual simple screen modulator.

Note: This is a concept diagram.  I have not actually built this exact circuit, and it will require a proper audio input circuit (which will consist of one op-amp or transistor voltage amplifier - simple).

If someone wishes to build this, I will assist in determining actual, tested circuit values for resistors, etc.

I have built a similar screen modulator, and it worked just great (to modulate 3 4-400s in parallal, back in the early '80s).  I have subsequently lost the original schematic (actually, probably never had one !!!!).

Logged

High Power, Broadcast Audio and Low Cost?  Check out the class E web site at: http://www.classeradio.org
AB2EZ
Member

Offline Offline

Posts: 1712


"Season's Greetings" looks okay to me...


« Reply #18 on: June 13, 2008, 10:52:04 AM »

A few further comments on the design of a screen modulated transmitter... like Ed and others are considering:

1. If the tube specification sheet lists recommended data for Class C plate modulated operation... but you are going to use screen modulation... then you will need to use a lower screen voltage, at carrier... and a corresponding lower plate current, at carrier... because the tube will be running at approximately half the efficiency, at carrier, with screen modulation (vs plate modulation).

For example, the tube specification for a 4-250 has the following recommended values for "Class C plate modulated telephony" operation:

Plate voltage = 2500 volts
Screen voltage = 400 volts
Plate current = 200 mA

The plate dissipation, with plate modulated operation, would be about 20-30% of the input power, if the tube is properly loaded... corresponding to 20-30% of 500 watts.

However, with screen modulation, the plate dissipation of the tube, at carrier, will be 60-65% of the input power, if the tube is properly loaded for screen modulation... corresponding to 60-65% of 500 watts. This exceeds the 250 watt plate dissipation rating of the 4-250. Therefore, the screen voltage at carrier should probably be around 75% of the value that applies to plate modulation of the same tube. In this case, that implies that the screen voltage at carrier should be set to around 300 volts, with an associated plate current of around 150 mA. [375 watts of input power, and about 65% x 375 watts = 250 watts of plate dissipation at carrier]
 
2. Design the tank circuit to fully load the rig at 100% modulation peaks. For Class C operation... the target load impedance (for properly loading the tube) will be approximately: 0.5 x (plate B+) / (plate current at 100% modulation power) ~ 0.25 x (plate B+ / (plate current at carrier). Note that this target load impedance is half the value you would use for plate modulation of a Class C output stage.

Example:

B+ = 2500 volts
Plate current at carrier = 150 mA
Target load impedance of pi network: 0.25 x 2500/0.15 ohms ~  4166 ohms

If the Q of the tank circuit is selected to be 10, then the loading capacitor should be selected to be large enough to reduce the 50 ohm antenna load to around 42 ohms. If the Q of the tank circuit is selected to be 12, then the loading capacitor should be selected to be large enough to reduce the 50 ohm antenna load to around 29 ohms [i.e. 4166 ohms / (12 x 12)].

Stu
Logged

Stewart ("Stu") Personick. Pictured: (from The New Yorker) "Season's Greetings" looks OK to me. Let's run it by the legal department
Ed/KB1HYS
Contributing
Member
*
Offline Offline

Posts: 1848



« Reply #19 on: June 13, 2008, 03:12:29 PM »

Thanks Bacon!  I was hoping you'd post in this thread.  I would like to see your mod circuit, especially as it's hard to find practical examples with known performance.  Steves circuit looks good (as usual) and has simplicity and low cost going for it, I just don't have the parts to build it here. The schematics i've drawn up use stuff I have mostly, which is required as, like a lot of folks these days, the bugdet for Radio stuff is non-existent, So I'll subsitute sweat equity for money and hope for the best.

back to the rig-  Ok I've read here about two ways to generate screen voltage,  seperate screen supply or dropping resistor off of Plate volts.   I like the plate dropping resistor idea as that is a lot easier and simpler than the separate supply. Since the reading implies that regulation of the screen supply for this type of rig is not critical at all, what benifits are gained by using a separate screen supply?


Stu, In order to keep the plate dissipation at 250 watts or so I'm going to be limited to ~375 watts input (at carrier). I'm a little confused by this so I'm going to think out loud here.   I set up the circuit so that with no modulation, the screen and grid bias have the plate current runnint at 150 ma (at 2500v) which is the max plate dissipation for the tube. The modulation circuit changes the screen voltage, allowing the plate current to INcrease, and thereby increase the amplitude of the carrier. (this could be done with the modulator circuit at audio rates or by 'manually' changing the screen voltage).  What changes the efficiency of the tube when modulated?  Why couldn't I just change the bias volts to put the tube in this more efficient region and modulate it there? Is it that there would be a a loss of % modulation perhaps? since the screen circuit doesn't add power to the final like a Plate modulator would?

This has been a great thread! 
Logged

73 de Ed/KB1HYS
Happiness is Hot Tubes, Cold 807's, and warm room filling AM Sound.
 "I've spent three quarters of my life trying to figure out how to do a $50 job for $.50, the rest I spent trying to come up with the $0.50" - D. Gingery
AB2EZ
Member

Offline Offline

Posts: 1712


"Season's Greetings" looks okay to me...


« Reply #20 on: June 13, 2008, 04:23:36 PM »

Ed

In a plate modulated rig you can adjust the loading, at carrier, to produce a peak RF voltage swing across the pi network that is equal to the B+ . Then, as you modulate the screen voltage (upward) to increase the plate current, you also modulate the plate voltage (upward) to increase the plate voltage. So, therefore, you always have enough (modulated) DC plate voltage to accommodate the peak RF current (at the fundamental frequency) flowing through the plate impedance of the pi network. As long as the peak RF voltage swing across the pi network is (roughly) as large as the (modulated) DC plate voltage... you get high efficiency. I.e., ~ 66% for Class B and ~80% for Class C. The efficiency stays the same as you modulate up and down because the ratio of the (modulated) plate voltage to the peak of the RF voltage across the pi network stays roughly constant.

In a screen modulated rig, the DC plate voltage is always equal to the B+. I.e., you are not modulating the plate voltage up and down, as in a plate modulated rig.

Therefore, you have to adjust the impedance of the tank circuit at the fundamental frequency to be half as much as in the plate modulated case. That way, on 100% modulation peaks, the peak rf voltage across the tank circuit is equal to the B+. Unfortunately, this implies that, at carrier, the peak rf voltage across the tank circuit is only half of the B+. As a result, at carrier, the input power to the tube is 50% of what it is at the output power that corresponds to 100% modulation... but the rf output power of the tube is 25% of what it is at the 100% modulation power level. This means that a larger percentage of the input power is being dissipated in the tube at carrier... which is why the efficiency is lower at carrier.

Please refer to examples I my earlier post.

Best regards
Stu
Logged

Stewart ("Stu") Personick. Pictured: (from The New Yorker) "Season's Greetings" looks OK to me. Let's run it by the legal department
W4EWH
Member

Offline Offline

Posts: 836



« Reply #21 on: June 13, 2008, 07:37:44 PM »


So Heres Rev A.  --


Ed,

Please have mercy on those of us over 50, and supply a schematic with more pixels. My eyes thank you.

Bill W1AC
Logged

Life's too short for plastic radios.  Wallow in the hollow! - KD1SH
steve_qix
Contributing
Member
*
Offline Offline

Posts: 2602


Bap!


WWW
« Reply #22 on: June 14, 2008, 02:06:46 AM »


So Heres Rev A.  --


Ed,

Please have mercy on those of us over 50, and supply a schematic with more pixels. My eyes thank you.

Bill W1AC

It is difficult to post schematics as .jpg files, because they get real large real quickly !  I find the best way to do it is to convert a complex schematic to a .PDF (Adobe Acrobat) file, and let the reader make it as large (or small) as desired.  This is how I have all of the schematics on the class E web site.  Seems to work.  However, here is the schematic in both PDF and .JPG formats.  Can you read these ok?

Here is the .PDF http://www.classeradio.com/tube_cathode_modulator.pdf

Here is the image:


Hope this helps!
Logged

High Power, Broadcast Audio and Low Cost?  Check out the class E web site at: http://www.classeradio.org
The Slab Bacon
Member

Offline Offline

Posts: 3929



« Reply #23 on: June 15, 2008, 07:58:41 AM »

I am going to start another thread for the "Scream modulated 4-1000A", but nere is one last thought to ponder. Why even bother with 4-250s (unless you have a bunch)??
Why not use 4-400s, they are pretty much identical to 250s except for a higher dissapation rating?? Also 4-250s are getting a little hard to find these days, and 4-400 used broadcast pulls are still pretty plentiful and can still be found for somewhere around $10 a pop.

Also Ed from joisey (I think his call was KB2NSP) used to run a pair of cathode modulated 4-400s, it sounded real good and put out a strapping signal.

                                                                                     the Slab Bacon
Logged

"No is not an answer and failure is not an option!"
Ed/KB1HYS
Contributing
Member
*
Offline Offline

Posts: 1848



« Reply #24 on: June 15, 2008, 08:53:58 AM »

Well.  I was going to use the 4-250 because that's what I had (new in box no less). But if I can find a 4-400 or two on that bay place I guess I'll go for it.

Should be easy enough to upgrade anyway.
Logged

73 de Ed/KB1HYS
Happiness is Hot Tubes, Cold 807's, and warm room filling AM Sound.
 "I've spent three quarters of my life trying to figure out how to do a $50 job for $.50, the rest I spent trying to come up with the $0.50" - D. Gingery
Pages: [1] 2   Go Up
  Print  
 
Jump to:  

AMfone - Dedicated to Amplitude Modulation on the Amateur Radio Bands
 AMfone © 2001-2015
Powered by SMF 1.1.21 | SMF © 2015, Simple Machines
Page created in 0.084 seconds with 19 queries.